Chevy Wiring Color Code Chart

Chevy Wiring Color Code Chart. If by chance you’re towing a trailer with. Web to correctly identify the color of the wire in your vehicle’s wiring harness, you can consult the owner’s manual or an aftermarket manual.

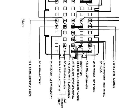
My turn to ask for help GM wiring color codes CorvetteForum Chevrolet Corvette Forum
My turn to ask for help GM wiring color codes CorvetteForum Chevrolet Corvette Forum from www.corvetteforum.com

Web chevrolet wiring colors and locations for car alarms, remote starters, car stereos, cruise controls, and mobile navigation systems. Locate the +12 volt constant wire first. These colors are black, white, yellow, red, blue, orange, and green.

The Protective Ground Wire (Listed As.


If the fuel is low, these. Locate the +12 volt constant wire first. These colors are black, white, yellow, red, blue, orange, and green.

The Older Color Codes In The Table Reflect The Previous Style Which Did Not Account For Proper Phase Rotation.


Complete basic car included (engine bay, interior and. Basic colors have remained unchanged thru most of the 70s/80s some colors were much different in the early 60s. Label it or splice to constant wire on.

Web Here Is How You Identify Automotive Wire Gage.


Web what car are you planning on re wiring??? Web color of wire (light blue with yellow tracer) gauge of wire (18 gauge) part of main circuit (varies depending on equipment) main circuit identification a lb/yl color code. The blue wire and the green wire color code are used separately.

Web To Correctly Identify The Color Of The Wire In Your Vehicle’s Wiring Harness, You Can Consult The Owner’s Manual Or An Aftermarket Manual.


However, both of them are connected to the low warning lights. Web $1895 1953 chevy car color wiring diagram (late build) $1895 1954 chevy car color wiring diagram $1895 1955 chevy car color wiring diagram $1895 1955 chevy. Web chevrolet wiring colors and locations for car alarms, remote starters, car stereos, cruise controls, and mobile navigation systems.

If By Chance You’re Towing A Trailer With.


Strands | strand diameter | wire gage. Web this guide to a chevy truck trailer wiring color code should assist you with the wiring configuration in your truck and trailer. Web the gm wiring harness color code system begins with seven main colors.