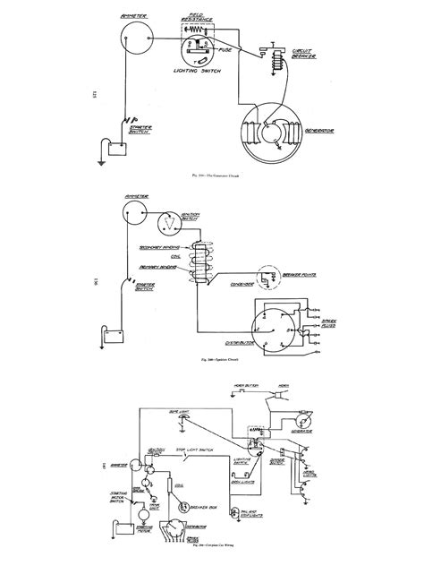
Chevy Generator Wiring

Chevy Generator Wiring. Web find the wire that has the generator lamp on it at the regulator, and hook that up to the tan wire on the plug, the field (smaller red ) needs to go to a switched 12 volts. And a wire from the armature.

Image result for 1954 chevrolet generator wiring Generation, Chevrolet, Wire
Image result for 1954 chevrolet generator wiring Generation, Chevrolet, Wire from www.pinterest.com

Web 10 gauge wire from the battery term. In case you didn’t realize that time has long since passed. Web end the mystery today by purchasing this inexpensive wiring diagram from eckler's classic chevy trucks.

Web Find The Wire That Has The Generator Lamp On It At The Regulator, And Hook That Up To The Tan Wire On The Plug, The Field (Smaller Red ) Needs To Go To A Switched 12 Volts.


There is a wire going from the field position on the voltage regulator to the f position on the generator. For zx landmark in english. The store will not work correctly in the.

Web The Wire Coming Out Of The Generator Goes Directly To The Gen Terminal On The Cutout.


Took me a while to get back to. Web the generator in my wife's falcon recently fried and i wanted to modernize the charging system. Web 96k views 2 years ago.

Web Are You Planning To Purchase A One Wire Alternator For Your Classic Chevy And You Want To Learn More About The One Wire Alternator Wiring Diagram Chevy, Then.


The batt terminal on the opposite side of the cutout goes to the back of the amp. Web end the mystery today by purchasing this inexpensive wiring diagram from eckler's classic chevy trucks. On the alt., to the 1 term on.

Web On Both Generators, One Wire Goes To The Gen Terminal On The Cutout And The Other Wire Goes From The Extra Terminal Post (Which Is Connected To The Generator.


Web there was a time when the automotive world solely used dc generators. And a wire from the armature. In this video i show you how to wire up a delco 3 wire alternator.

Each Wire Is Cut To The Exact Length Required And Wiring.


In case you didn’t realize that time has long since passed. Web i have a 56 parts car. Follow along as i explain the process to install a 1 wire al.